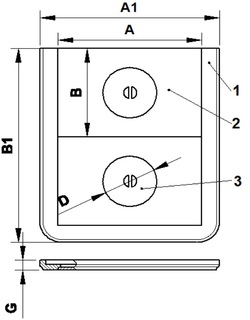
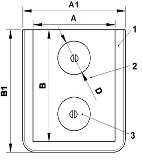
ANSAMBLU - Rama, Plite si capace din fonta
Tip A |
Tip B Marimile 1 si 2 |
| |
Tip B Marimile 1 si 2 |
Tip B Marimile 3 si 4 |
|
Denumire Ansamblu | Dimensiuni Rama A1xB1 | Dimensiuni Plite AxB | Diametre capace D | Grosime G | Masa totala |
RAP - 1.1 | 620x950 | 2x(475x315) | 2x180 | 18 | 39.00 |
RAP - 2.1 | 520x960 | 2x(395x315) | 2x180 | 15 | 30.50 |
RBP - 1.1 | 600x695 | 2x(475x315) | 2x180 | 18 | 26.00 |
RBP - 1.3 | 600x695 | 475x630 | 250+2x155 | 18 | 23.50 |
RBP - 2.1 | 530x695 | 2x(395x315) | 2x180 | 18 | 22.00 |
RBP - 2.3 | 530x695 | 395x630 | 250+2x155 | 18 | 20.50 |
RBP - 3.2 | 490x605 | 350x535 | 2x190 | 25 | 16.00 |
RBP - 4.2 | 475x545 | 325x445 | 2x180 | 13 | 14.00 |
Nr.Crt. | Denumire | Rama | Nr. x tip plite | Nr. x tip capace | Greutate [kg] | 1 | RAP - 1.1 | RA1 | 2xP1.1+1xPR1 | 2xCP3 | 39.00 |
2 | RAP - 2.1 | RA2 | 2xP1.2+1xPR2 | 2xCP3 | 30.50 |
3 | RAP - 2.1S | RA 2S | 2xP1.2 | 2xCP3 | 21.50 |
4 | RBP - 1.1 | RB1 | 2xP1.1 | 2xCP3 | 26.00 |
5 | RBP - 1.3 | RB1 | 1xP3.1 | 1xCP1+2xCP4 | 23.50 |
6 | RBP - 2.1 | RB2 | 2xP1.2 | 2xCP3 | 22.00 |
7 | RBP - 2.3 | RB2 | 1xP3.2 | 1xCP1+2xCP4 | 20.50 |
8 | RBP - 3.2 | RB3 | 1xP2.1 | 2xCP2 | 16.00 |
9 | RBP - 4.2 | RB4 | 1xP2.2 | 2xCP3 | 14.00 |
Rame din fonta
Tip A |
Tip B |
|
Denumire | Dimensiuni | A | A1 | B | B1 | G | Masa |
RA1 | 620x950 | 479 | 620 | 809 | 950 | 18 | 19.00 |
RA2 | 520x960 | 399 | 520 | 829 | 960 | 15 | 11.80 |
RB1 | 600x695 | 479 | 600 | 634 | 695 | 18 | 9.90 |
RB2 | 530x695 | 399 | 530 | 634 | 695 | 18 | 8.80 |
RB3 | 490x605 | 354 | 490 | 539 | 605 | 25 | 6.00 |
RB4 | 475x545 | 329 | 475 | 449 | 545 | 13 | 5.90 |
Plite din fonta
Tip 1 |
Tip 2 |
|
Tip 3 |
|
Tip 1
Denumire | Dimensiuni | A | A1 | Masa |
P1.1 | 475x315 | 475 | 445 | 6.70 |
P1.2 | 395x315 | 395 | 370 | 5.20 |
Tip 2
Denumire | Dimensiuni | A | A1 | B | B1 | D | D1 | L | G | Masa |
P2.1 | 350x535 | 350 | 315 | 535 | 495 | 192 | 175 | 145 | 10 | 6.10 |
P2.2 | 325x445 | 325 | 295 | 445 | 420 | 182 | 175 | 110 | 8 | 5.50 |
Tip 3
Denumire | Dimensiuni | A | A1 | B | B1 | C1 | C2 | C3 | Masa |
P3.1 | 475x630 | 475 | 455 | 630 | 590 | 220 | 215 | 127 | 8.90 |
P3.1A | 475x565 | 475 | 455 | 565 | 525 | 165 | 125 | 127 | 7.70 |
P3.2 | 395x630 | 395 | 375 | 630 | 590 | 165 | 215 | 102 | 7.00 |
P3.2A | 395x550 | 395 | 375 | 550 | 510 | 165 | 135 | 102 | 5.80 |
⇐ Go Back |